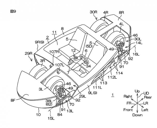
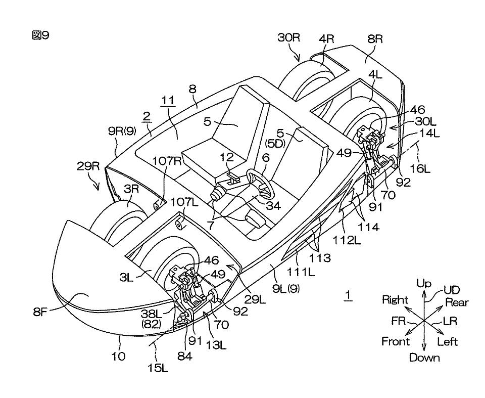
Yamaha запатентовала машину-амфибию (ФОТО)
Технические подробности не раскрываются. Известно лишь, что главной особенностью амфибии должны стать колеса, которые убираются в кузов, когда машина заезжает в воду.
Осенью 2015 года Yamaha представила на Токийском автосалоне прототип своего первого серийного автомобиля. Концепт-кар Sports Ride построили по технологии iStream, разработанной создателем суперкара McLaren F1 Гордоном Мюрреем.
Читайте также: Nissan назвал цену обновленного кроссовера Pathfinder 2017
Технология iStream представляет собой систему сборки автомобилей из заранее изготовленных деталей — кузовных панелей, деталей шасси и элементов силовой структуры кузова. Все компоненты крепятся на единое шасси, которое позволяет создавать машины разных классов и размеров. На выпуск одной детали требуется всего 100 секунд.
По технологии iStream будут собираться все компактные автомобили Yamaha. Первая машина «Ямахи», предположительно, выйдет на рынок в конце 2017 или в начале 2018 года и будет стоить около 50 тысяч долларов.
Источник: motor.ru
Уважаемый посетитель, Вы зашли на сайт как незарегистрированный пользователь. Мы рекомендуем Вам зарегистрироваться либо зайти на сайт под своим именем.


