Ноутбуки Apple будут оснащены клавиатурой с сенсорными кнопками-экранами (ФОТО)
Ноутбуки Apple следующего поколения получат клавиатуру с сенсорными кнопками-экранами.
По задумке специалистов Apple, каждая из кнопок на ноутбуках MacBook будет оснащена миниатюрным дисплеем, изображение на котором сможет изменяться в зависимости от режима работы. Бюро патентов и торговых марок США опубликовало новую заявку Apple, которая описывает компьютерную клавиатуру с кнопками-экранами.
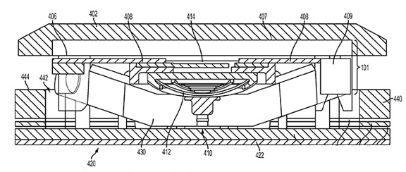
В рамках патента «Многофункциональные варианты сборки клавиатуры» инженеры предлагают использовать для клавишного блока технологию ЖК-дисплеев. В каждую кнопку будет встроен миниатюрный экран, изображение на котором сможет изменяться в зависимости от режима работы.
К примеру, в текстовом редакторе это могут быть изображения букв и цифр, в программе для работы с графикой — пиктограммы операций. Также клавиши могут быть запрограммированы на запуск конкретных программ, например, iPhoto, Safari и других. Сама по себе идея оснащения клавиш мини-дисплеями не нова: такие устройства ввода предлагает, в частности, «Студия Артемия Лебедева».
Преимуществом реализации Apple является способность клавиатуры воспринимать тактильные прикосновения – кнопки будут сенсорные и смогут реагировать на жесты «свайп», «пинч» и другие. При этом, как отмечается, клавиши получат стеклянное покрытие, что сделает их более прочными, чем пластиковые аналоги. О сроках появления MacBook Air и MacBook Pro с сенсорными клавишами-дисплеями ничего не известно.


